1/7
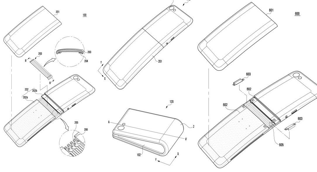
Samsung Galaxy X dezvăluit! Cum va arăta telefonul flexibil revoluționar? Dispozitivul are două ecrane
| Imaginea 1 din 7 | Galerie Foto
Samsung Galaxy X, dezvăluit. Cum va arăta telefonul flexibil revoluționar? Dispozitivul are două ecrane!
Primele două locuri, deja asigurate cu 2 ore înainte de închiderea urnelor. Diferenţa dintre primii candidaţi
Autocar cu 69 de turişti italieni, accident de groază pe DN1, în Sinaia. Două femei au ajuns la spital
Incident la o secţie de vot din Constanţa. Bărbat, prins în timp ce fotografia buletinul de vot
Slănină ascunsă în ultima iarnă comunistă, păstrată 35 de ani într-un turn din Sibiu. Cine a lăsat-o acolo
Respectul faţă de angajaţii statului ar putea deveni obligatoriu prin lege. Ce amenzi riscă cetăţenii nervoşi
Târgurile de Crăciun din România atrag turişti din toată lumea: europeni şi asiatici ne vizitează de sărbători